Diaphragm wall and pile bore survey
Pile integrity testing with Crosshole Sonic Logging


The Koden gauge is an system based on ultrasonic distance measurement and is used to measure the shape and deviation of pile and diaphragm wall bores. Therefore, an echo sonar is lowered vertically along the axis of the borehole and the distance to the borehole wall is continuously determined and precisely recorded in one or two directions. In addition, borehole wall breakouts can be identified and captured.

For the investigation of piles and diaphragm walls for deep foundations, Solexperts offers the ultrasonic method (Cross-Hole Sonic Logging) and the pulse-echo method (Low Strain).

Both methods provide information about the pile integrity by non-destructive testing. Thus, defective piles can be detected after construction. Furthermore, the ultrasonic method can also be used to control lamella transitions on diaphragm walls or other concrete parts.

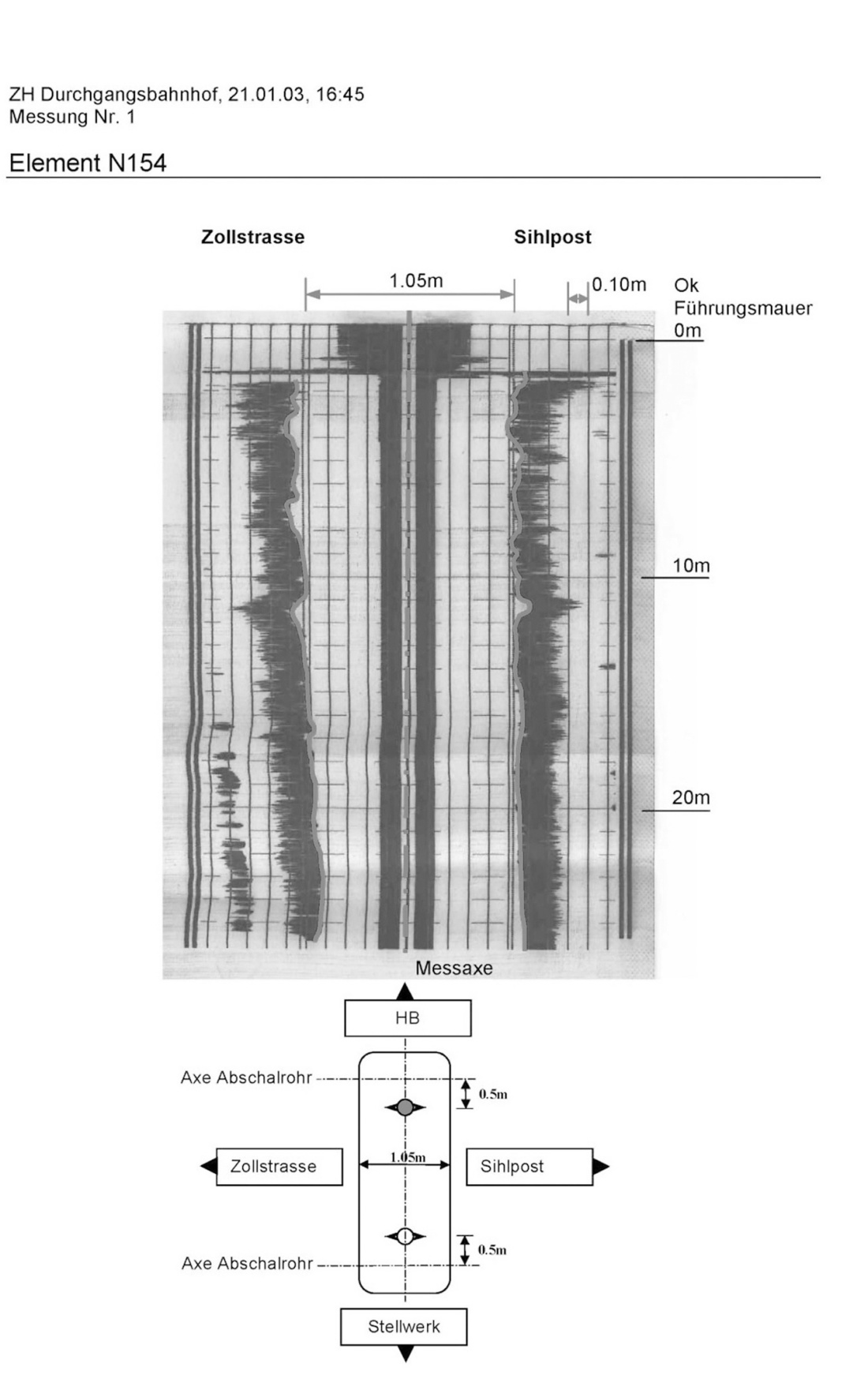
For the crosshole sonic logging method (CSL), the transit time and energy strength of an ultrasonic signal through the concrete body is measured. For this purpose, the ultrasonic transmitter and receiver are lowered into parallel, water-filled pipes in the foundation pile. Over the entire length of the pile, the concrete body between transmitter and receiver is examined for defects, typically every 6 cm. A marked decrease of propagation time and amplitude of the signal in an area of the pile indicates a defect or weak point in the concrete. Statements can only be made on the concrete quality along the measuring sections.

Downloads

ALL REFERENCES

Markus Stolz

Civil Engineer

T +41 (0) 44 806 29 41
E-Mail

vCard   |   QR Code